Marine

Pelican Hook - ALL SIZES

S2831-13

Pelican Hook Small M6 AISI 316

$8.46

In stock

ex. GST
S2831-14

Pelican Hook Medium M8 AISI 316

$16.65

In stock

ex. GST

To access Trade Prices, click below

TRADE FORM

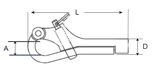
Pelican Hook

Easy to use pelican book with release pin, made from high quality 316 grade stainless steel.
CODE THREAD L A D
S2831-13 M6 76 13 10
S2831-14 M8 102 15 13
chat bubble
Unrivalled customer support from experts not just administrators. Need help?
delivery truck
Fast shipping with same day dispatch* to anywhere in the world. Find out more
bright crown
22 years of the highest quality stainless steel products & service. About Us

Unable to Add to Cart

×